政策更新
国家税务总局关于修订《涉税专业服务机构信用积分指标体系及积分规则》的公告
国家税务总局公告2020年第17号 2020-10-30
为深入贯彻落实国务院“放管服”改革要求,优化税收营商环境,促进涉税专业服务行业规范健康发展,国家税务总局修订了《涉税专业服务机构信用积分指标体系及积分规则》,现予以发布,自2021年1月1日起施行。《涉税专业服务信用评价管理办法(试行)》(国家税务总局公告2017年第48号发布,2019年第43号修改)的附件《涉税专业服务机构信用积分指标体系及积分规则》同时废止。
特此公告。
国家税务总局
2020年10月30日
| 涉税专业服务机构信用积分指标体系及积分规则 | |||||||||||
| 一级 | 二级 | 三级 | 积分类别 | 积分/扣分标准 | 积分/扣分规则说明 | ||||||
| 指标 编码 |
指标名称 | 指标 编码 |
指标名称 | 指标 编码 |
指标名称 | ||||||
| 01 | 上一评价周期信用情况 (100分) |
直接得分 | 纳税信用得分或上一评价周期信用 积分 |
1.第一个评价周期该指标得分为纳税信用得分;未参加纳税信用级别评定的,该指标得分为70分;纳税信用直接判D以及纳税信用得分小于0的,该指标得分为0分;纳税信用保留D级的,该指标得分为20分;机构纳税信用结果发生变动的,按照最新结果重新计算得分。 2.以后每个评价周期,该指标得分=上一评价周期期末信用积分×20% |
|||||||
| 02 | 委托人纳税信用 (20分) |
0201 | 委托人纳税信用情况 (20分) |
直接得分 | 平均分 | 1.该指标分值=截至积分时点全部委托人纳税信用得分之和/截至积分时点委托人累计总数×20% 2.积分时点无纳税信用评价结果的委托人,其纳税信用得分按70分计。 3.委托人纳税信用结果发生变动的,按照最新结果重新计算。 4.评价周期内,双方解除委托关系的,则以解除时点委托人纳税信用得分为该委托人最后得分;同时,该委托人应纳入委托人累计总数。 5.评价周期内,双方解除委托关系后又重新建立的,按照委托人最新纳税信用得分重新计算。 6.委托人纳税信用直接判D以及纳税信用得分小于0的,其纳税信用得分按0分计。 7.委托人纳税信用保留D级的,其纳税信用得分按20分计。 |
|||||
| 一级 | 二级 | 三级 | 积分类别 | 积分/扣分标准 | 积分/扣分规则说明 | ||||||
| 指标 编码 |
指标名称 | 指标 编码 |
指标名称 | 指标 编码 |
指标名称 | ||||||
| 03 | 纳税人和税务机关评价 (50分) |
0301 | 纳税人评价 (20分) |
直接得分 | 平均分 | 1.该指标分值=委托人评价得分合计数/发起评价次数 2.委托人评价分为“非常满意”“满意”“基本满意”“不满意”“非常不满意”五个等级,对应分值分别为20分、15分、10分、5分、0分。 3.每个评价周期末,税务机关网上向每个委托人发起一次评价。 4.超过评价期限,委托人未作出评价的,按照“基本满意”计分。 5.双方在评价周期内结束委托关系的,在结束的当天发起一次评价,期末不再评价。 6.评价周期内,双方解除委托关系后又重新建立的,以评价周期内最后一次评价为准。 |
|||||
| 0302 | 税务机关 评价 (30分) |
030201 | 遵守办税秩序的情况(15分) | 基准分 | -5分/-10分 | 扰乱办税秩序的,第一次扣5分,第二次扣10分,扣完为止。 | |||||
| 030202 | 配合税务机关检查、调查情况 (15分) |
基准分 | -5分/次; -100分; -200分 |
1.拒不配合税务机关检查、调查的,每次扣5分。 2.经税务机关责令限期改正或予以约谈,逾期不改正的,扣100分,降低信用等级一级;情节严重的,扣200分,降低信用等级两级,纳入涉税服务失信名录。 3.该指标扣分不封顶。 |
|||||||
| 一级 | 二级 | 三级 | 积分类别 | 积分/扣分标准 | 积分/扣分规则说明 | ||||||
| 指标 编码 |
指标名称 | 指标 编码 |
指标名称 | 指标 编码 |
指标名称 | ||||||
| 04 | 实名办税 (90分) |
0401 | 报送涉税专业服务机构实名信息 (30分) |
基准分 | -5分/次; -100分; -200分 |
1.报送信息与实际不符的,每次扣5分。 2.经税务机关责令限期改正或予以约谈,逾期不改正的,扣100分,降低信用等级一级;情节严重的,扣200分,降低信用等级两级,纳入涉税服务失信名录。 3.该指标扣分不封顶。 |
|||||
| 0402 | 报送从事涉税服务人员实名信息 (30分) |
直接得分 | 按从事涉税服务人员数量占比计算得分 -5分/次; -100分; -200分 |
1.该指标分值= 30分×积分时点从事涉税服务人员数量/(积分时点职工总人数×30%) 2.该指标最高分为30分。 3.报送信息与实际不符的,每次扣5分。 4.经税务机关责令限期改正或予以约谈,逾期不改正的,扣100分,降低信用等级一级;情节严重的,扣200分,降低信用等级两级,纳入涉税服务失信名录。 5.该指标扣分不封顶。 |
|||||||
| 0403 | 报送涉税专业服务协议信息 (30分) |
直接得分 | 按涉税专业服务协议数量与从事涉税服务人员总数比值计算得分 | 1.该指标分值=30分×评价周期期初至积分时点报送涉税专业服务协议数量/评价周期期初至积分时点从事涉税服务人员总数 2.评价周期期初至积分时点从事涉税服务人员总数包括在此期间内从该机构退出的人员(下同)。 3.该指标最高分为30分。 |
|||||||
| 0404 | 使用税务师事务所名称未办理行政登记的 | 直接扣分 | -100分; -200分 |
1.经税务机关责令限期改正或予以约谈,逾期不改正的,扣100分,降低信用等级一级;情节严重的,扣200分,降低信用等级两级,纳入涉税服务失信名录。 2.该指标扣分不封顶。 |
|||||||
涉税专业服务机构信用积分查询、复核操作指南
什么是涉税专业服务机构信用积分?
涉税专业服务信用管理,是指税务机关对涉税专业服务机构从事涉税专业服务情况进行信用评价,对从事涉税服务人员的执业行为进行信用记录。涉税专业服务机构信用评价实行信用积分和信用等级相结合方式。从事涉税服务人员信用记录实行信用积分和执业负面记录相结合方式。
税务机关依托涉税专业服务管理信息库采集信用指标信息,由全国涉税专业服务信用信息平台按照《涉税专业服务机构信用积分指标体系及积分规则》和《从事涉税服务人员个人信用积分指标体系及积分记录规则》对采集的信用信息进行计算处理,自动生成涉税专业服务机构信用积分和从事涉税服务人员信用积分。
涉税专业服务机构信用信息
包括:纳税信用、委托人纳税信用、纳税人评价、税务机关评价、实名办税、业务规模、服务质量、业务信息质量、行业自律、人员信用等。
查询、复核操作
01、进入电子税务局,可随时查询积分情况
点击“我要查询”-“涉税中介机构信息查询”

输入纳税人信息后,点击“查询”-“查看”-“积分详情”,便可获得具体积分情况



积分情况可导出电子版,便于查阅


小贴士:非涉税专业服务机构也可以查看涉税专业服务机构的信用积分和信用等级,以便“随心选、放心用”。
02、对积分有异议,可提出复核申请
点击“我要办税”-“涉税专业服务机构管理”- “其他涉税专业服务机构管理”-“涉税专业机构(人员)信用复核申请”。


填写经办人姓名及联系电话,选择申请复核年度和申请原因,点击“添加”,便可根据扣分情况,选择复核事项,点击资料报送,上传资料,签章核对情况后,提交申请。

选择“添加”申请复核具体原因,纳税人可一并查看扣分指标及具体内容。

纳税人可上传资料进行佐证。

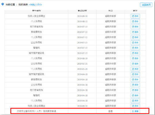
03、对复核办理情况
纳税人可通过电子税务局随时关注。
点击“互动中心-我的消息”

点击“查看”可以详知复核申请情况

可得知复核状态及积分变化情况

来源:厦门税务 供稿:湖里区税务局
关于《国家税务总局关于修订〈涉税专业服务机构信用积分指标体系及积分规则〉的公告》的解读
为深入贯彻落实国务院“放管服”改革要求,优化税收营商环境,促进涉税专业服务行业规范健康发展,税务总局发布了《关于修订〈涉税专业服务机构信用积分指标体系及积分规则〉的公告》(以下简称《公告》)。现就《公告》内容解读如下:
一、制定背景
2017年12月,税务总局出台《涉税专业服务信用评价管理办法(试行)》(国家税务总局公告2017年第48号发布),并随文发布了《涉税专业服务机构信用积分指标体系及积分规则》,自2018年1月1日起正式施行。该指标体系施行两年多来,在规范涉税专业服务、促进行业发展方面发挥了重要作用,同时也存在一些问题需要加以改进。2019年底,税务总局在《关于进一步完善涉税专业服务监管制度有关事项的公告》(2019年第43号)政策解读稿中明确“税务总局将适时优化完善涉税专业服务机构信用指标体系”。今年以来,我们在系统总结涉税专业服务监管工作成效和广泛听取涉税专业服务机构及涉税行业协会意见建议的基础上,经过认真研究,对涉税专业服务机构信用指标体系进行了优化完善,对《涉税专业服务机构信用积分指标体系及积分规则》中的8个二级指标进行了修订,并通过《公告》予以重新发布。
二、修订内容
(一)“0201委托人纳税信用情况”和“0202委托人纳税信用变动情况”
合并“0201委托人纳税信用情况”指标和“0202委托人纳税信用变动情况”指标,指标分值由30分调整为20分;委托人纳税信用得分根据其当前实时纳税信用情况计算,使该指标更加客观地反映涉税专业服务机构服务期间委托人纳税信用情况。
(二)“0301纳税人评价”
将委托人评价由“好、良好、一般、差”四个等级调整为“非常满意、满意、基本满意、不满意、非常不满意”五个等级,相应调整对应分值;委托人未作出评价的,由原来默认“一般”(5分)调整为默认“基本满意”(10分)。
(三)“0402报送从事涉税服务人员实名信息”
将积分类别由“基准分”修改为“直接得分”,积分计算等式为“30分×积分时点从事涉税服务人员数量/(积分时点职工总人数×30%)”,规范引导涉税专业服务机构如实报送从事涉税服务人员实名信息,对报送信息与实际不符的予以扣分。
(四)“0403报送涉税专业服务协议信息”
将积分类别由“基准分”修改为“直接得分”,积分计算等式为“30分×评价周期期初至积分时点报送涉税专业服务协议数量/评价周期期初至积分时点从事涉税服务人员总数”,通过积分方式鼓励涉税专业服务机构报送涉税专业服务协议信息,但税务师事务所、会计师事务所、律师事务所认为报送专项业务的协议信息存在违反与委托人订立的商业秘密保护条款情形的,可留存备查。
(五)“0501业务结构”
考虑当前涉税服务业务创新发展趋势,在计算分类业务占比时适当体现“其他税务事项代理”和“其他涉税服务”两项业务的重要性,将积分计算等式修改为“(纳税申报代理收入+一般税务咨询收入+专业税务顾问收入+税收策划收入+涉税鉴证收入+纳税情况审查收入+其他税务事项代理收入×50%+其他涉税服务收入×50%)/涉税专业服务总收入×10分”。
(六)“0502人均涉税专业服务收入”
将积分计算等式修改为“人均涉税专业服务收入/全省人均涉税专业服务收入×10分”,修改前人均涉税专业服务收入需达到全省平均值的2倍才能得满分,修改后只要人均涉税专业服务收入达到全省平均值即可得满分。
(七)“0901从事涉税服务人员人均信用积分变动情况”
将指标分值由10分增加到20分;将积分计算等式修改为“20分×从事涉税服务人员人均信用积分变动值/全省从事涉税服务人员人均信用积分变动值”,修改后从事涉税服务人员人均信用积分变动值达到全省平均值即可得满分。
三、施行时间
《公告》自2021年1月1日起施行。
相关新闻







